Friday March 2026

হটলাইন

সেবা এবং ধাপ

নং শিরোনাম সেবার ধাপ কার্যকলাপ
  
ফসলের জাত ও প্রযুক্তির সম্প্রসারণ দেখুন
প্রশিক্ষন দেখুন
কৃষি পূণর্বাসন বাস্তবায়ন দেখুন
মাটির স্বাস্থ্য ব্যবস্থাপনা দেখুন
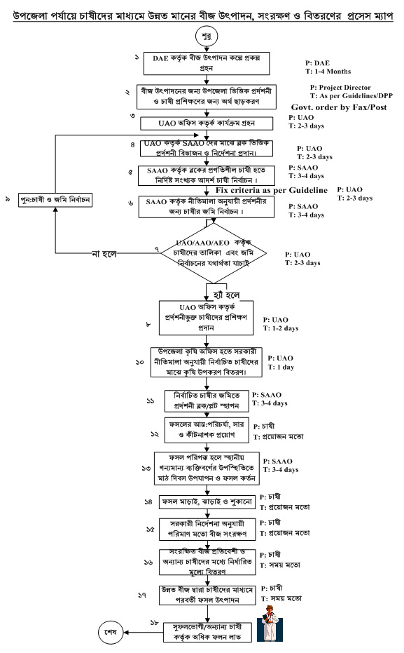
চাষী পর্যায়ে উন্নতমানের বীজ উৎপাদন, সংরক্ষন ও বিতরন দেখুন
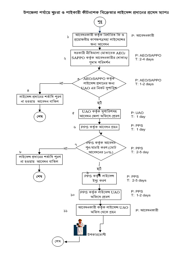
কীটনাশক লাইসেন্স প্রদান দেখুন
বালাই ব্যবস্থাপনা দেখুন
দেখছেন ১ থেকে ৭ পর্যন্ত, মোট ৭ এন্ট্রি

এক্সেসিবিলিটি

স্ক্রিন রিডার ডাউনলোড করুন